Bluebird House Plans

If you have kids, and if they belong to Cub Scouts, Brownies, Indian Guides, Indian Maidens, etc., then you know how hard it can be to come up with good, interesting, meaningful projects that the kids can finish in a single meeting. This article describes how to create a bluebird house kit that is easy to produce and costs very little. You can use the kits as a youth project, or you can assemble them yourself and put them around your property if you are interested in attracting bluebirds (see the links below for help on creating a "bluebird trail"). If you have a lot of grandkids, you could make a set of the kits and give them to the kids as Christmas presents. If you are a teenager you can assemble the kits to and sell them as a money-making or community project.

I designed and created a set of the kits for a friend who was faced with leading an Indian Guides meeting. The whole project went over very well, and the boys and their fathers enjoyed it immensely. The boys were easily able to assemble and paint their houses in one meeting. Although this project requires a fair amount of your time prior to the meeting to get the kits set up, you will be repaid many times over by the pride and excitement the kids will feel when they finish building the bluebird houses themselves. The assembly process is nearly foolproof and therefore has an extremely high probability of success for everyone in the group.

This article has two parts. Part 1 shows you how to create the kits. You will do this part before the meeting, preferably with another parent who: 1) you enjoy being with, and 2) is not afraid of tools. Part 2 is the assembly instructions for the kids.

Overview of the Project

Before getting to the instructions, here is a quick overview of the project. The goal is to assemble a kit that allows a typical 8- to 12-year old to successfully build and paint a birdhouse in a single meeting, and have fun doing it. The kit goes together like this:

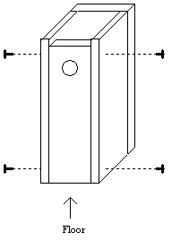
The back is nailed to the two sides. The roof is nailed on top of the back and the two sides. The sides are nailed to the floor. The door is nailed to the two sides so it pivots from the top, and is held in place at the bottom by a latch nail.

What you need to do before the meeting is buy the wood, cut it to the proper sizes, and drill the entry and nail holes. You will create for each kid a kit that includes the six wooden pieces that make up the house, a set of nails, a wire loop for hanging, and a paintbrush. You should request that the kids each bring a hammer with them to the meeting, but have a few extra hammers on hand for those who inevitably forget.

It is not a bad idea to cut the pieces for one birdhouse and assemble it prior to creating an assembly line to create 10 or 20 kits. That way you can work out any kinks before you cut all of your wood.

If you want to provide the kids with additional information on bluebirds, the following links are useful:

Part 1 - Assembling the Kits

Go to your neighborhood lumber yard or home improvement center and buy the following items:

You will also need:

The 1 x 6 and 1 x 8 boards should be kiln-dried, finished lumber. Typically you will find this sort of lumber in the "shelving" section. As an alternative, you could substitute 3/4" (or even 1/2") plywood and cut it to the same dimensions. If you are making a large number of kits, the plywood option might be cheaper depending on where you live. If you use 1/2" plywood you will have to modify dimensions slightly.

The wire is used to make a loop that is used to hang the house. Farmers would use baling wire or electric fence wire to make this loop, but most urban people will not be able to buy such a thing in small quantities. So look for single-stranded copper or steel wire that is perhaps 16 or 18 gauge. Picture hanging wire is a reasonable substitute. If you get desperate, buy some 14 or 16 gauge romax (3-wire house wire in a white or gray plastic sheathing), strip off the insulation, and use that.

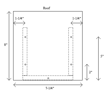
Each kit consists of a roof, a floor, a front door, a back and two sides. The two sides and the back are 12-inch long pieces of 1 x 6. The roof is an 8-inch long piece of 1 x 8. The door is an 11.5 inch piece of 1 x 6 ripped down to 4 inches wide. The floor is a 4.5-inch piece of 1 x 6 also ripped down to 4 inches wide. The exact dimensions of the six pieces are shown below:

A 1 x 6, despite the fact that it is called a 1 x 6, has a thickness of 3/4" and a width of 5-1/2". A 1 x 8 has a width of 7-1/4". Knowing this makes the dimensions shown above seem more sensible.

Let's assume that you want to create 8 kits. Here is what you will need to do.

Now, using your 1.5" hole saw, drill the entry hole in the door. Position it as shown below:

You now need to drill starter holes for the nails to make it easier for the kids to put the house together. It will be very easy to figure out where those holes should go if you at this point try to assemble one of the houses. Using your 1/16" drill bit drill six holes in the back piece. The holes should be 3/8" in from the edge, and 2 inches from the top and bottom:

Drill 5 holes in the roof piece. In the picture below, the dotted lines represent where the side and back pieces will lie when the roof is in place. The hole in the back center should be 3/8" away from the edge and centered.

Drill 3 holes in each side piece. Two of the holes will hold the floor in place, while the third will hold the hinge nail for the door.

Finally, with your 1/8" (or better yet 3/32" if you have it) bit you need to drill a "latch hole" in the side pieces of the house. This bird house uses two "latch nails" to hold the door shut. You want to drill a hole through the side and into the door for this latch nail to go into. You want the hole to be big enough for the nail to be finger tight, but preferably not so big that the nail falls out when the house is tipped. It would be better, however, for the latch nail to be too loose than too tight.

[Note: Drilling the holes for the latch nail in the side of the house is easy. Drilling the hole into the side of the door is much harder in an unassembled house. You might want to postpone the whole latch nail issue until the house is assembled and then drill them in the finished houses as one of the final assembly steps. Kids like using drills it turns out, so this can be fun.]

Now cut about 4 inches of wire and make a loop about 2 inches in diameter. Twist the ends together. Make eight of these loops.

To create each kit, include six pieces of wood (two sides, a back, a door, a roof and a floor), maybe 20 nails, a wire loop, and a paint brush. Tie it all together in a bundle or drop it in a shopping bag with the assembly instructions and hand one kit to each kid.

There is one more thing you might want to do if the kids are a little young for this project. The step where the kids nail the back and the sides together (step 1 in part 2 below) is a little tricky for young hands. They will have a hard time balancing the side and the back and then driving a nail. You can help them through this step by either:

  1. Having an adult there to help each kid with this step, or
  2. Having the kids help each other in 2-person teams (although this doesn't work so well sometimes...), or
  3. Pre-gluing the back and sides together with hot glue so all the kids must do is drive the nails, or
  4. Letting the kids apply the hot glue themselves at the meeting and then drive the nails

If it is possible, option 1 is the best.

You will be doing yourself a favor if you attempt to build one of these houses about the time you are ready to drill the starter holes for the nails. This will let you check your dimensions, etc. Once you have built one you can drill all of the rest of the starter holes in all of the other kits.

If you are putting together 8 or 10 kits, you can reasonably expect it to take you 3 to 4 hours if you keep yourself organized and pace yourself. Budget a little more time if you don't have a lot of tool experience. Ideally, you and one or two other parents will have as much fun putting the kits together as the kids will have building the bird houses at the meeting.

The instructions below show you (or the kids) how to put the kits together.

Part 2 - Building a Bluebird House

This kit contains all of the pieces you need to build a complete bluebird house. You should find the following pieces in your kit:

You should also find some nails, a wire loop (it will be used to hang the house on a tree) and a paint brush that you will use to paint the outside of the house. The house is going to go together like this:

To build your bird house, take the following steps.

Step 1: Attach the sides to the back

Nail the back to the two sides as shown below:

Note that the sides should be placed so the pre-drilled holes are facing in the directions shown. It may be easier to get the back and sides nailed together if you ask a friend or one of your parents for help, or if you hot glue the pieces together before nailing.

Step 2: Attach the floor

Attach the floor as shown below:

There should be a 3/8" gap between the edge of the floor and the back of the birdhouse. This gap will provide ventilation. The floor should be flush with the bottom of the house.

Step 3: Attach the door

The door swings out from the bottom, pivoting at the top, and uses latch nails to hold it in place. The nails at the top of the door act as the hinge. Attach the door as shown below:

The door should be even with the bottom of the house, flush with the front of the house, and there should be a gap at the top of about 1/2". Insert one of the latch nails at the bottom with your fingers. DO NOT hammer the latch nail in. You want it to be loose so that you can remove it to clean the house. It should slide in smoothly and help hold the door in place. Now nail in the top two nails. Nail them almost tight, but leave a tiny amount of slack so that the hinge will have some freedom.

Remove the latch nail. The door should swing out smoothly on the hinge nails.

Step 4: Attach the roof

In the process of attaching the roof, you will also attach the wire loop so that you can hang up the bird house when you are done. Attach the wire loop as shown below:

Place the wire loop so that it is centered on top of the back wall. Then align the roof as shown and nail it in place with five nails total.

You have finished your bird house! Paint the outside of it an appropriate color (leave the inside natural) and hang it on the trunk of a tree

home.gif (2141 bytes)